MOTO.com.ua
events
0
Події
Погода: Київ
24.05, 13:20
28
+24 °С
Вітер: 1 м./с., Пн-С
НовиниФорумОголошенняЖурналКаталогПривалКалендар
Реєстрація Вхід
?
Увійти
Допоможіть Армії, наближайте нашу Перемогу!
Галерея

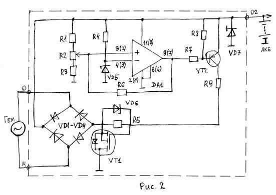
Фотографії повідомлення #195756 теми форума «Реле - регулятори напруги для мото з однофазним генератором»

Фото 1
фото 1
© 2001-2026, MOTO.com.ua - все про мотоцикли та скутери!   Зворотній зв'язок   Про нас   Реклама на сайті   Магазин