Есть мысль разработать не дорогой проект контроля давления в шинах «непрямого» действия. Принцип работы системы заключается в информировании о изменении соотношения периодов вращения колёс. Наличие всего двух датчиков вращения колёс и дешёвого микроконтроллера обуславливают простоту всей схемы. Сразу оговорю недостатки этой системы - невозможность определить одновременно падение давления в двух колесах, зависимость работоспособности системы от степени пробуксовки колес, состояния резины и загрузки ТС, срабатывание при падении давления не меньше, чем на 25%, необходимость калибровки. Интерисует мнение народа)))))
[url=sdelal.net]http://industrialniy.users.photofile.ru/photo/industrialniy/115116213/135197751.gif
Змінено: 24.03.2010 р., ed13hell
Сейчас в продаже есть спец колпачки на колёса , там в зависимости от давления разный цвет ...
Может я старею), не то что тыкать манометром, даже смотреть на цветные колпачки лень.
[url=sdelal.net]http://industrialniy.users.photofile.ru/photo/industrialniy/115116213/135197751.gif
Есть мысль разработать не дорогой проект контроля давления в шинах «непрямого» действия. Принцип работы системы заключается в информировании о изменении соотношения периодов вращения колёс. Наличие всего двух датчиков вращения колёс и дешёвого микроконтроллера обуславливают простоту всей схемы. Сразу оговорю недостатки этой системы - невозможность определить одновременно падение давления в двух колесах, зависимость работоспособности системы от степени пробуксовки колес, состояния резины и загрузки ТС, срабатывание при падении давления не меньше, чем на 25%, необходимость калибровки. Интерисует мнение народа))))))
Есть решение много проще. Давеча купил для своей машины, колпачки вместо обычных. Работают от давления в колесах как манометр. Норма - зеленый, "-" 10% - желтый, на треть спустило - красный. Думал выложить ссылку народу на этот инет магазин, но сдержало правило про рекламу на форуме. Продаются парой 55 грн. Желающим, в личку скину ссылку. За одно и скооперируемся - пара колпачков настроена на одно давление. Ну а на скуте, давление нв переднем и заднем колесе разные. Т.е. нужно покупать два набора - 4 колпачка на разные давления каждый набор.
Пришел за двухколесным другом, посмотрел на колеса... -норма. Значит - поехали...

Мысль у тебя была в верном направлении,

но велосипед...

Самая увлекательная игра, это работа. Нужно только уметь выигрывать.
--
Истинно говорю вам:
Если в Начале было Слово, то в конце, очевидно, будет Смайлик.
--
Я как настоящий кактус: зелёный, пью
Прибор для настройки карбюраторов называется газоанализатор. Самописцы тоже продаются, но как правило идут модулем для подключения к ноуту. Раньше была идея сделать портативный осциллограф-самописец с дисплеем 320х200, но на всё времени не хватает).
[url=sdelal.net]http://industrialniy.users.photofile.ru/photo/industrialniy/115116213/135197751.gif
Я знаю о существовании этих универсальных приборов и о их стоимости:
USB- осциллограф - 1000 грн.
Мотор-мастер - 3000 грн
Контроллер широкополосного лямбда-зонда - 2500 грн
Знаю, что реальная стоимость этих приборов горазда ниже и при самостоятельной разработке и изготовлении можно получить весьма большую экономию.
ksb
Можно мне сцылку в личку, пжалста
Интересно почитать че это такое, мож и себе прикуплю... Правда их наверно скрутить могут легко

Второй - это всего лишь первый из проигравших!
Ураган я! Ураган! Не Хурикан, не Харикун, не Харикэн, не Хурикейн, не Харрикейн!
Я упрямый))))))) Пока накидал схемку, жаль мало свободного времени, так бы и прогу написал бы. Цена деталей не превышает 50 гривен.
[url=sdelal.net]http://industrialniy.users.photofile.ru/photo/industrialniy/115116213/135197751.gif
Дык, прога то по сути вторая половина девайса)))))
злой опозитчег!!!
Апну тему). Пришло время готовить технику к сезону. Воспользовавшись ситуацией, пока весь пластик снят, решил инсталировать сабж на свой аппарат. Запарили эти неожиданные проколы колёс(((. Колпачки на соски с индикаторами давления немного исправляют проблему, но не решают проблему обнаружения прокола в корне.
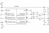
Установил датчик скорости на заднее колесо, на переднем уже стоит, подключённый к МБК. Дальше дело не хитрое, оживить микроконтроллер. Алгоритм работы устройства до жути простой - после включения зажигания, включаются оба контрольных светодиода. Как только ТС начало движение, сигналы с датчиков скорости колёс гасят светодиоды, устройство переходит в рабочий режим. Периоды вращения колёс записываются в счётчик. Как только счётчик будет заполнен до приемлемого уровня происходит вычитание суммы периодов переднего колеса с суммы периодов заднего колеса. Разность периодов сравнивается с прописанной калибровкой, и если разность превышает определённый процент калибровки включается аварийная индикация. Знак разности периодов определяет, какое колесо начинает спускать, и включает аварийную индикацию в виде прерывистого сигнала на первый или второй светодиод. Если во время работы произойдёт отказ одного из датчиков скорости колеса, светодиод просигнализирует постоянным свечением.
[url=sdelal.net]http://industrialniy.users.photofile.ru/photo/industrialniy/115116213/135197751.gif
На написание программы уйдёт не один свободный вечер, потом тестирование. А доволен я буду тогда, когда заеду на шиномонтаж с гвоздём в покрышке ещё до того, как спустит колесо))))).
[url=sdelal.net]http://industrialniy.users.photofile.ru/photo/industrialniy/115116213/135197751.gif
Для меня проколы не редкость(. За прошлый сезон около трёх раз. Пробивал покрышку саморезом, куском металла и последний раз по трассе куском !стекла!. Самое неприятное, когда вечером ставишь аппарат в гараж, а утром, хвать, полностью спущена покрышка. Насос и ремкомплект я беру только на дальняки, поэтому в городе приходится пхать 150 кг до ближайшего шиноремонта.
[url=sdelal.net]http://industrialniy.users.photofile.ru/photo/industrialniy/115116213/135197751.gif
Я себе уже шнурок и инструмент купил, пхать моего коныка до шиномонтажа - не возбуждает...
Правила дорожного движения написаны кровью...тех, кто их нарушал, в основном.
Произвёл предварительные замеры зависимости окружности колеса к давлению.
1 бара = 1509 мм
1,4 бар = 1516 мм
2,0 бар = 1535 мм
Порог чувствительнось алгоритма будет около 0,5 бары.
[url=sdelal.net]http://industrialniy.users.photofile.ru/photo/industrialniy/115116213/135197751.gif