Установка дефлектора на ветровое стекло (для пилотов ростом не менее 185).
С самого начала владения данным максискутером, имел проблему с "обрезом" набегающего воздушного потока. Мой рост составляет 188 см. В ровном положении тела, взгляд на дорогу находится намного выше от верхней кромки ветрового стекла. Завихрения от верхней кромки ветрового стекла попадали прямо в район головы, а точнее в нижнюю ее часть начиная с глаз и носа. Даже если совсем свернутся "креветкой", сильно сгорбившись и полностью выпрямив руки отдалив себя максимально назад, особо это не спасало. При этом завихрения влияли и на общий обдув пилота, а так же и пассажира. Не обдувались только передняя часть ног и нижняя часть торса. Пассажиру, мягко говоря за 50 км/ч было уже не комфортно ехать - его попросту сдувало

Зона турбулентности как раз оказывалась уже в районе спины пилота.
После продолжительных поездок, голова попросту начинает гудеть. Даже плотный теплый подшлемник не спасает от злостных турбулентных потоков. При этом еле слышен звук работы мотора и звуки по сторонам, от проезжающих или крадущихся сзади машин. И чем выше скорость, тем меньше их слышно.
Были идеи поиска и покупки увеличенного ветрового стекла. Нашел не мало моделей:
Но просто "конский" ценник данных стекол (с доставкой) все больше расстраивал меня.
В ходе поисков решения в сложившейся ситуации, набрел на довольно функциональные девайсы для ветровых стекол мотоциклов, называемые -
дефлекторы. Имеются уже готовые решения с кучей вариаций геометрии самого дефлектора так и его крепления к ветровому стеклу.
С первого взгляда, мне в голову полезли сомнения, насчет эффективности данного девайса. Что он только эффективен для спортивных мотоциклов и работает только на больших скоростях. В нашем же случае, его установка создаст только дополнительную нагрузку на ветровое стекло, удлиняя его в высоту (при этом поток воздуха будет создавать еще большее давление на само ветровое стекло), так и вес (про вибрации на кочках и завихрениях воздушного потока не нужно забывать).
Но почитав кучу информации про данный тип девайса, поменял свое мнение. Из всего обилия форм и размеров, у данного девайса есть один единый принцип работы -
эффект Бернулли (для воздушных потоков):
Дефлектор (от лат. deflecto — отклонять) — аэродинамическое устройство, устанавливаемое над вентиляционным каналом, дымоходом, в системе охлаждения поршневого авиамотора и др. Применяется для усиления тяги в канале за счёт эффекта Бернулли: чем больше скорость движения потока воздуха при изменении поперечного сечения канала, тем меньше статическое давление в этом сечении. Дефлекторы увеличивают тягу в канале и повышают эффективность систем вентиляции.
Другими словами, если объяснить на "пальцах":
на ветровое стекло с дефлектором действует меньшее значение сопротивления воздуха, чем на просто цельное ветровое стекло той же высоты.
Инструкция по изготовлению и установке:
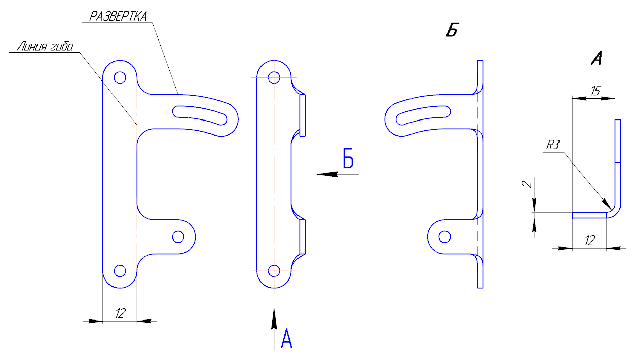
1. Долго не думая, сделал в чертеж конструкции 2-х кронштейнов для дефлектора, с регулируемым углом наклона.
2. Вырезал на лазерном станке (материал: Д16Т ГОСТ 21631-76 лист 2 мм).
3. Отрезал кусок картона, обрезал по верхней кромке ветрового стекла, на полученной выкройке разметил места установки кронштейнов. Шаблон-выкройка для установки кронштейнов готова.
4. Еще из одного куска картона наваял форму будущего дефлектора. Перевел полученные размеры в чертеж, подкорректировал форму. Распечатал контур, вырезал и перевел на кусок оргстекла толщиной 3 мм. Вырезал контур. Краям оргстекла придал полукруглую форму по всему контуру.
5. Купил крепеж: 4-ка, нержавейка, шестигранники (4х15), гайки-высокие самоконтрящиеся с капроновым кольцом, шайбы.
6. Вырезал прокладки под кронштейны из обычной прозрачной бесцветной пластиковой бутылки (для защиты от прямого контакта металла об поверхность ветрового стекла). Но лучше резина, тонкая. Идеально - из велосипедной камеры.
7. Просверлил по готовому картонному шаблону отверстия диаметром 4,2 в ветровом стекле. Обязательно делаем фаски. Без фанатизма.
8. Устанавливаем и собираем кронштейны. Не забываем про прокладки (пластик/резина).
9. Гнем изготовленный дефлектор до нужной формы (самая творческая и кропотливая работа), при этом 100 раз примеряемся по ветровому стеклу.
10. Выставляем по крепежным отверстиям уже установленных кронштейнов. Намечаем отверстия. Просверливаем.
11. Подгибаем кронштейны во внутрь, чтобы оба кронштейна были в параллельны друг другу, а установочные плоскости под установку дефлектора подгибаем до совпадения кривизны самого дефлектора.
12. Устанавливаем дефлектор.
13. Выставляем угол дефлектора относительно ветрового стекла. У меня он составил ~ 15 градусов относительно передней плоскости ветрового стекла.
Фото:
Удлинение верхней кромки ветрового стекла за счет установки дефлектора составила - 170 мм.
Результаты.
Плюсы:
После установки дефлектора перестало вообще дуть в шлем! Лишь иногда еле заметные боковые порывы.
Ветровой поток срывает выше шлема. При полной выпрямленной спине, ветровой поток уже касается верхней части шлема.
Ветровое стекло и сам дефлектор не болтается, не дребезжит, не крутит, не выламывает, короче - чёткО !
Перестало задувать в грудь и верхнуюю часть тела (плечи руки). Удивительный результат!
Стал слышать урчание мотора так, как будто стоим на месте.
Стал слышать звуки по сторонам с полной локализацией их места расположения.
Пассажира теперь не сдувает

, в его шлеме теперь (почти) тишина и покой.
Можно ездить с полностью открытым визором, при этом воздух даже не задувает вообще.
Можно не надевать сильно теплый подшлемник

Шею не задувает.
Минусы:
Смотрю теперь через дефлектор (читай дальше).
Нужно полностью выпрямить спину, чтобы смотреть поверх дефлектора.
Из-за того, что дефлектору была придана не идеальная форма, так как гнул я оргстекло первый раз в жизни, то присутствует оптическое искажение.
